油墨仪器网
inks Testing咨询热线
18566398802

涂魔师非接触在线涂层测厚仪在产品固化前在线测量涂层厚度,即时得出干膜厚度,无需等待固化时间,实时监测膜厚真实情况。
涂魔师非接触在线涂层测厚仪在产品固化前在线测量涂层厚度,即时得出干膜厚度,无需等待固化时间,实时监测膜厚真实情况。
涂魔师非接触在线涂层测厚仪在产品固化前在线测量涂层厚度,即时得出干膜厚度,无需等待固化时间,实时监测膜厚真实情况。100%⾃动数据记录,数据直录ERP,无需⼈⼯转录,可⽤于统计及追溯⽣产过程,优化涂装工艺。
涂魔师非接触在线涂层测厚仪能自由测试弯角、曲面、台阶处的涂层厚度,平面和非平面均能精确测厚,减少返工,降低碳排放,提高生产效率。

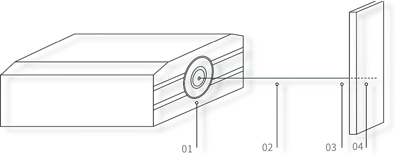
01. 在线非接触式测厚系统涂魔师基于先进的热光学技术(ATO)和数字信号处理技术(DSP),实现独有的非接触式涂层⽆损测厚技术。该系统通过计算机控制光源以脉冲方式加热待测涂层。
02. 内置的高速红外探测器从远处记录涂层表面温度分布并生成温度衰减曲线。
03. 表面温度的衰减时间取决于涂层厚度及其导热性能。
04. 利用专门研发的算法分析表面动态温度曲线计算测量待测的涂层厚度。

粉末涂料干/湿膜测厚
在产品进入烤炉前,测湿膜即可得出干膜厚度,或直接测量干膜厚度,实现及时调整工艺参数,大大减少不良率,优化工艺流程;
油漆干/湿膜厚度测试
精确可靠测出油漆厚度,有效节省材料成本,避免出现产品缺陷,优化工艺质量,节省涂料原材料;
军工智能装备
为航空航天,船舶重工,核电建设,轨道交通,兵器等军工装备涂装提供精准可靠的涂层厚度整体成像技术;
汽车整车及零部件
涂魔师非接触在线涂层测厚仪安全且精确测量整车或细小零部件的涂层厚度,帮助企业提高效率,保证产品质量,减少材料消耗。
涂魔师非接触在线涂层测厚仪已成熟应用到多个行业中,已被多家欧美企业成功引进,协助工艺工程师优化其喷涂工艺,稳定产品质量并节省原料成本。在中国也有多个行业成功引用,并正在扩大引用规模。

以下产品为同品牌其它产品,具体参数及应用请点击查看详情。